当前位置:首页>新闻中心> 公司新闻
新闻中心
公司新闻 成功案例 行业新闻
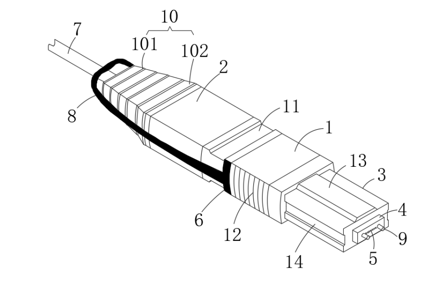
  • 丽特IBDN研发团队取得MPO光纤连接器实用性进展
  • 发布时间:[2023-03-27]    阅读次数:[1434]
  • 根据近五年MPO/MTP数据中心实施用户调研分析,操作维护中导致误触的诟病问题较为集中,丽特IBDN研发团队历时6个月开发出新型MPO光纤连接器,并已首次量产实施于某机关机房正式投入使用技术涉及材料强度、受力角度、受力平衡,以及回弹距离等相关测试数据解锁MPO光纤连接器全新安全的维护方式

丽特网络2021.版权所有京ICP备12039809号 京公网安备11010802014521号 技术支持:35互联